Перейти к содержимому

الخطوط التفريغ الهوائي التكنولوجية

الخط الخوائي مخصص لوضع طيف واسع من الطبقات (الحماية و الديكور و المعزز و الضوئية) بطرق مشتركة بشكل أوتوماتيكي.
من ضمن خصائص الخط الخوائي التكنولوجي ما يلي:

-          وجود آلة التحضير المسبق لمصدر الأيون مما يسمح بتشكيل الطبقة ذو المواصفات الفيزيائية و الميكانيكية العالية؛ 

-          الحماية من التعبئة المتتالية للمنتجات في الغرفة المفرغة من الهواء مما يؤدي إلى انخفاض كمية الشوائب و انخفاض إمكانية تكوين الطبقات الموحدة و زيادة إنتاجية المعدات؛ 

-          إمكانية مراقبة سماكة الطبقة خلال الترسيب و إخراج الخصائص الطيفية على شاشة الكمبيوتر.

المواصفات الفنية لخط التفريغ الهوائي التكنولوجي:

1. عدد الغرف – 3-7 غرف.

2. قياسات الركائز:

العرض – حتى 3000 ملم

الطول – حتى 4000 ملم

3. عدد الصمامات المغناطيسية الإلكترونية – 2-7 صمام.

4. عدد مصادر الأيونات – 1-3 مصدر.

5. مدة الدورة – ابتداء من 60 ثانية.

6. قوة مصدر طاقة الصمامات المغناطيسية الإلكترونية – 10 – 70 كيلووات.

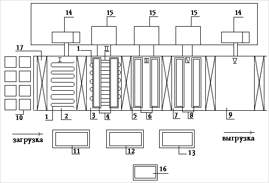
التسميات:

1. السخان

2, 3, 5, 7, 9 الغرف

4. مصدر الأيونات

6, 8 الصمامات المغناطيسية الإلكترونية

10. المنتج

11, 12 علب التغذية

13. علبة التحكم

14. نظام الدعم

15. نظام تفريغ الهواء عالي المستوى

16. علبة التحكم

17. المصراع

I – V. الغرف

التشاور ، حساب التكلفة
الشبكة الاجتماعية

© Technology & Supply. All rights reserved. Powered by Websmart.